>>Wolfgang Stockhaus

1994-1997 Jägerstrasse 54/55 Berlin-Mitte, Rekonstruktion und Erweiterung

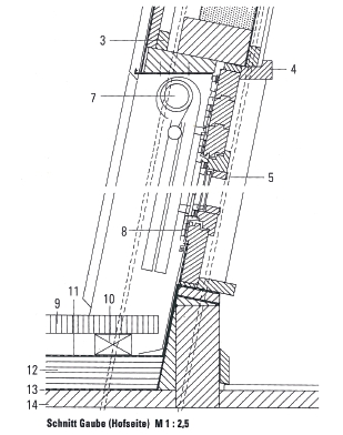
Jägerstr. 54 wurde 1916 mit einer Natursteinfassade, die Nr. 55 mit Stuckfassade 1885 erbaut und 1917 zusammengeführt mit einem Treppenhaus für beide Häuser, mit zwei Seitenflügeln, Quergebäude, Berliner Dach mit einer Höhe von ca. 2.00 m, im Krieg überwiegend ausgebrannt. Nach dem Krieg wurde die Stuckfassade abgeschlagen, durch Kieselkratzputz degradiert, die Erdgeschossfenster durch Rundbogenfenster ersetzt. 1994 fand ein interner Wettbewerb statt, der Abriss und Neubebauung nicht ausschloss. Mein Entwurf mit 2 Penthauswohnungen mit Nord- und Südterrassen, sowie einem Restaurant im Haus 55 mit einer Bar im Keller und im Sommer im Hof mit neu gestalteten Terrassentüren, dafür neuer Hofdecke über dem Kellergeschoss und neuer zentrisch gestalteter Hopfpflasterung mit einer Lichtsäule bekam den Zuschlag. Ein wesentliches Gestaltungsmerkmal war das Hauptgesims als Abschluss der Straßenfassaden, weswegen die Front der Dachgeschosswohnungen zurückgesetzt mit vorgelagerten, duchgehenden Terrassen ausgeführt wurde. Das gesamte Dach wurde mit Kupferblechen eingedeckt.
Etwas schwierig gestaltete sich die Behandlung der Fassade Nr. 55. Nach Auffassung des Landeskonservators sollte der Kratzputz nur überstrichen werden, da ebenfalls zur Stadtgeschichte gehörig. Aufgrund eines Fotos von 1916 konnte ich die ursprüngliche Stuckfassade mit den Erdgeschossfenstern rekonstruieren und den Bauherrn davon überzeugen. Somit wurde die Fassade entsprechend ausgeführt und in einem Terrakottarotanstrich entsprechend gestaltet. Die neuen Holzfenster mit einem hellbrauem Lack gestrichen bzw. dunkelanthrazit. In das Erdgeschoss Nr. 54 zog eine Bank ein, der Haupteingang wurde durch nach außen vorgezogenen Stufen großzügig gestaltet. Die Eingangstür dem Entstehungsjahr entsprechend neu gestaltet. Die gesamten Geschosse wurden als Büros oder Wohnungen zeitgemäß umgestaltet. Die Hoffassaden mit gelben Klinkern gesäubert und die breiten Putzbänder ebenfalls Terracottarot gestrichen. Die gesamten Hoferdgeschosse wurden neu geordnet und Kellerschächte verschlossen, neue Treppenabgänge und Terrassentüren geschaffen. In dem Tordurchgang hängt eine Bronzetafel zur Erinnerung an den Salon von Rahel Vernhagen.
Zustand 1997 Zustand 1990 Restaurierte Innenhoffassaden Jägerstrasse 54/55 Berlin-Mitte Jägerstrasse 54/55 Berlin-Mitte Jägerstrasse 54/55 Berlin-Mitte Jägerstrasse 54/55 Berlin-Mitte Wintergarten Jägerstrasse 54/55 Berlin-Mitte Dachterrassen zur Jägerstraße Neue Hofgestaltung mit neuer Pflasterung Luftaufnahme